区直各相关部门:
根据《白银市企业注销登记“一件事”工作方案>的通知》(白市监发[2024]70号)和《平川区进一步优化政务服务提升行政效能推动“高效办成一件事”实施方案的通知》(平政办发[2024]53号)文件要求,结合我区实际,依据各部门职责,现将《平川区企业注销登记“一件事”工作方案》予以印发,请认真贯彻执行。
白银市公安局平川区分局 白银市平川区人力资源和社会保障局
国家税务总局白银市平川区税务局 白银市平川区市场监督管理局
国家金融监督管理总局平川监管支局 白银市平川区政务服务中心
白银市平川区大数据中心
2024年8月6日
平川区企业注销登记“一件事”工作方案
为贯彻落实《国务院关于进一步优化政务服务提升行政效能推动“高效办成一件事”的指导意见》精神要求,持续提升企业注销登记退出效率,降低退出成本,为企业提供更加方便快捷的注销服务,结合我区实际,制定企业注销登记“一件事”工作方案。
一、总体要求
以习近平新时代中国特色社会主义思想为指导,坚持以人民为中心的发展思想,运用改革创新办法,聚焦企业和群众涉及面广、办理量大、办理频率高的政务服务事项,帮助企业通堵点、解难题,提振预期和信心,提升营商环境市场化、法治化、国际化水平,为全区经济社会高质量发展提供强劲动力和坚实支撑。
二、工作目标
突出企业需求导向和目标导向,以“减时间、减材料、减环节、减跑动”为着力点,通过流程再造和信息共享,延伸服务触角,打造企业注销登记“线上一网、线下一窗”的双向服务平台,常态化实现税务注销、企业注销登记、海关报关单位备案注销、注销社会保险登记、银行账户注销、企业印章注销等事项“高效办成一件事”,全面提升企业办事的便捷度、体验感和满意度。
三、推进措施
(一)完善企业注销“一件事”平台功能。依托全省政务服务网“一件事”功能模块,进一步优化业务流程、打通各相关部门业务系统、强化数据共享,整合企业注销登记相关事项,完善业务系统功能,优化注销登记流程,把税务注销、企业注销登记、海关报关单位备案注销、注销社会保险登记、银行账户注销、企业印章注销全部纳入统一业务平台办理,实现企业注销“高效办成一件事”,增强办事体验、降低退出成本。
(二)优化企业综合服务窗口。进一步推进行政服务窗口规范化建设,依托企业开办“一窗通办”工作机制,将企业注销登记“高效办成一件事”纳入企业综合服务窗口,负责统一受理税务注销、企业注销登记、注销社会保险登记、银行账户注销、企业印章注销事项。发挥现有帮办团队优势,开展全程免费专人帮办服务,实现“一窗受理、按职转办、并联审批、限时办结、一窗出件”。
(三)优化企业注销同步申报办理流程。强化部门间业务协同,企业注销业务平台分类生成相关申请信息,并自动推送到市场监管、税务、社保、海关、人民银行、公安等部门。按照“一表申请、一套材料”的要求,厘清各部门职责权限,进一步明确办事标准,精简办事申请材料,编制规范化的办事指南和流程,不断提升企业注销登记“一件事”规范化、透明化、便利化。
(四)动态调整企业注销办事指南。根据企业注销登记“一件事”整合情况,依据《企业注销指引(2023年修订)》,及时调整细化企业注销登记办事指南、操作手册,为企业提供更加便捷高效的注销服务。同时,拓展企业信息公示服务渠道,通过“国家企业信用信息公示系统(甘肃)”公示清算组、债权人等公告信息并同步共享至相关部门。
四、保障措施
(一)强化统筹协调。各相关部门要统筹推进高效办成企业注销登记“一件事”,由市场监督管理部门牵头抓总,各相关部门协同配合,明确工作要求,理顺工作机制,统一工作规范,创新工作方式,加强工作衔接,推动工作落实。
(二)加大宣传引导。各相关部门要做好宣传引导,通过政府网站、新闻媒体、大厅讲解、实地宣讲等方式,对改革中的热点难点问题予以及时回应解答,让企业、社会公众充分了解改革政策,体验改革红利,形成支持改革、参与改革的良好氛围。
(三)开展业务培训。进一步加强窗口工作人员队伍建设,开展企业注销登记“高效办成一件事”工作相关培训,保障人员业务达标、服务优质、设备充足,确保综合服务窗口顺利高效运行。
(四)加强工作落实。各相关部门要紧抓落实,加强各系统内部的业务督查和自查,畅通监督管理渠道,内外加力共同助推“高效办成一件事”落实落地。
附件:1.企业注销登记“一件事” 申请材料清单
2.企业注销登记“一件事” 申请书
3.行政审批事项告知承诺书
4.企业注销登记“一件事”办事指南
5.企业注销登记“一件事”办事流程图
附件 1
企业注销登记“一件事” 申请材料清单
事项名称 | 序号 | 办理 方式 | 申请材料名称 | 数据提 供方式 | 备 注 | 实施单位 |
企业注销 登记“一 件事” | 1 | 简易 注销 | 人民法院终结破产 程序裁定书或判决 书复印件 | 自备 | 仅限于破产企业 | 税务 |
2 | 《发票领用簿》 | 自备 | 已实行实名办税的 纳税人,可取消报送 |
3 | 税务登记证件 | 自备 | 已实行实名办税的 纳税人,可取消报送 |
4 | 吊销处罚决定书复印件 | 自备 | 仅限于被吊销企业 |
5 | 项目完工证明、验收 证明复印件 | 自备 | 境外企业在中国境内承包建筑、安装、装配、勘探工程和提供劳务 |
6 | 《清税申报表》或 《注销税务登记申 请审批表》 | 自备 | 已实行实名办税的 纳税人,可取消报送 |
7 | 经办人身份证原件 | 自备 | 已实行实名办税的 纳税人,可取消报送 |
8 | 《企业注销申请书》 | 系统自动 生成 |
| 市场监管 |
9 | 《全体投资人承诺 书》 | 系统自动 生成 |
|
10 | 清税证明 | 共享 |
|
11 | 营业执照正、副本 | 缴回 |
|
事项名称 | 序号 | 办理 方式 | 申请材料名称 | 数据提供 方式 | 备 注 | 实施单位 |
| 12 |
| 法定代表人或单位 负责人有效身份证 件 | 自备 |
| 金融监管 |
13 | 营业执照 | 自备 | 仅限于还未办理 企业注销的提供 |
14 | 印章销毁证明 | 自备 | 仅限于办理销户无 法加盖公章的 |
15 | 注销通知书 | 原件(复 印件)或 系统共享 |
| 公安、金融监管、人社 |
1 | 普通 注销 | 人民法院终结破产 程序裁定书或判决 书复印件 | 自备 | 仅限于破产企业 | 税务 |
2 | 《发票领用簿》 | 自备 | 已实行实名办税的 纳税 人,可取消报送 |
3 | 税务登记证件 | 自备 | 已实行实名办税的 纳税人,可取消报送 |
4 | 吊销处罚决定书复 印件 | 被吊销企 业自备 | 仅限于被吊销企业 |
5 | 项目完工证明、验收 证明复印件 | 自备 | 境外企业在中国境 内承包建筑、安装、 装配、勘探工程和提 供劳务 |
6 | 《清税申报表》或 《注销税务登记申 请审批表》 | 自备 | 已实行实名办税的 纳税人,可取消报送 |
7 | 经办人身份证原件 | 自备 | 已实行实名办税的 纳税人,可取消报送 |
8 | 《企业注销申请书》 | 系统自动 生成 |
| 市场监管 |
9 | 注销决议或决定 | 自拟/系 统自动生 成 |
|
事项名称 | 序号 | 办理 方式 | 申请材料名称 | 数据提供 方式 | 备 注 | 实施单位 |
| 10 |
| 股东或出资人确认 的清算报告 | 自拟/系 统自动生 成 |
| 市场监管 |
11 | 债权人公告 | 共享 |
|
12 | 清税证明 | 共享 |
|
13 | 营业执照正、副本 | 缴回 |
|
14 | 法定代表人或单位 负责人有效身份证 件 | 自备 |
| 金融监管 |
15 | 营业执照 | 自备 | 仅限于还未办理企 业注销的提供 |
| 委托代理人授权书 及有效身份证件 | 自备 |
|
16 | 印章销毁证明 | 自备 | 仅限于办理销户无 法加盖公章的 |
17 | 注销通知书 | 原件(复 印件)或 系统共享 |
| 公安、金融监管、人社 |
附件 2
企业注销登记“一件事” 申请书
基本信息(必填项) |
名 称 |
| 统一社会信用代码 |
|
普通注销原因(仅普通注销登记填写 ,根据企业类型勾选) |
□有限责任公 司 及股份有限 公司 | □ 公司章程规定的营业期限届满或其他解散事由出现。 □ 股东决定 、股东会 、股东大会 、 外商投资公司的董事会决议解散。 □ 因公司合并或者分立需要解散。 □ 依法被吊销营业执照、责令关闭或者被撤销。 □ 人民法院依法予以解散。 □ 被人民法院依法宣告破产。 □ 法律、行政法规规定的其它情形 。 |
□非公司企业法人 | □ 依法被吊销营业执照、责令关闭或者被撤销。 □ 被人民法院依法宣告破产。 □ 因合并而终止。 □ 法律、行政法规规定的其它情形 。 |
□合伙企业 | □ 合伙期限届满, 合伙人决定不再经营。 □ 合伙协议约定的解散事由出现。 □ 全体合伙人决定解散。 □ 合伙人已不具备法定人数满三十天。 □ 合伙协议约定的合伙目 的 已经实现或者无法实现。 □ 依法被吊销营业执照、责令关闭或者被撤销。 □ 法律、行政法规规定的其它原因 。 |
□个人独资企业 | □ 投资人决定解散。 □ 投资人死亡或者被宣告死亡 ,无继承人或者继承人决定放弃继承。 □ 被依法吊销营业执照。 □ 法律、行政法规规定的其他情形 。 |
普通注销(仅普通注销登记填写) |
公告情况(内资非公司 企业法人 、个人独资企 业无须填写) | □通过国家企业信用信息公示系统公告 公告 日期: □通过报纸公告公告 报纸名称: 公告日期: |
注:本申请书适用于公司 、 非公司企业法人 、合伙企业( 以上类型包含内资和外资) 、个人独资 企业办理注销登 记。 |
分支机构注销登记情况 | □ 已注销完毕 □ 无分支机构 |
债权债务清理情况 | □ 已清理完毕 □ 无债权债务 |
清税情况 | □ 已清理完毕 □ 未涉及纳税义务 |
对外投资清理情况 | □ 已清理完毕 □ 无对外投资 |
海关手续清缴情况 (海关备案企业填写) | □ 已清理完毕 □ 未涉及海关事务 |
批准证书缴销情况 | □批准证书已缴销完毕 □不涉及批准证书 |
注:1、 申请普通注销的已清算的公司、非公司外资企业、合伙企业由清算组负责人(清算人)签字; 个人独资企业由投资人或清算人签字。
2、申请普通注销的已清算的非公司企业法人和因合并或分立未清算的公司、非公司外资企业由法 定代表人签字。
3、申请简易注销的公司、非公司企业法人、非公司外资企业由法定代表人签字,合伙企业由执行 事务合伙人(或委派代表)签字,个人独资企业由投资人签字;
4、人民法院裁定清算(破产)的由其指定的清算组负责人(破产管理人)签字。
附件3
行政审批事项告知承诺书
一、申请告知承诺的事项名称: 企业注销登记“一件事 ” (适用简易注销情形)
二、申请人基本信息
1、 申请企业名称:
2、 申请企业统一社会信用代码:
3、 申请企业法人(负责人)姓名: 身份证号码:
三、申请人承诺:
( 企业名称 )现向登记机关申请简易注销登 记,并郑重承诺:
本企业申请注销登记前未发生债权债务/已将债权债务清 算完结,不存在未结清清偿费用、职工工资、社会保险费用、 法定补偿金、应缴纳税款(滞纳金、罚款)及其他未了结事务, 清算工作已全面完结。
承诺申请注销登记时不存在以下情形:
1、法律、行政法规或者国务院决定规定在注销登记前需经 批准的;
2、被吊销营业执照、责令关闭、撤销;
3、在经营异常名录或者市场监督管理严重违法失信名单 中;
4、存在股权(财产份额)被冻结、出质或者动产抵押,或 者对其他市场主体存在投资;
5、正在被立案调查或者采取行政强制、正在诉讼或仲裁程 序中;
6、受到罚款等行政处罚尚未执行完毕;
7、不适用企业简易注销登记的其他情形。
本企业全体投资人对以上承诺的真实性负责,如果违法失 信,则由全体投资人承担相应的法律后果和责任,并自愿接受 相关行政执法部门的约束和惩戒。
全体投资人签字(盖章):
年 月 日
说明:
1、有限责任公司由全体股东签署、非公司企业法人由全体出资人签署、个人独资企业由投 资人签字、合伙企业由全体合伙人签署、农民专业合作社由全体合作社成员签署;
2、非上市股份有限公司由全体股东签署;
3、申请人为分公司、营业单位、非法人分支机构、农民专业合作社(联合社)分支机构的, 由其隶属主体的法定代表人签字并加盖隶属主体公章。合伙企业分支机构由隶属主体执行事务合 伙人(或委派代表)签字并加盖隶属企业公章。个人独资企业分支机构由隶属企业投资人签字并
加盖隶属企业公章;
4、 申请人为外国(地区)企业在中国境内从事生产经营活动的, 由其外国(地区)企业有 权签字人签字。
附件 4
企业注销登记“一件事”办事指南
企业注销登记“一件事” |
牵头部门 | 区市场监管局 | 联办机构 | 区公安局、区人社局、区税务 局、 |
服务对象 | 企业 | 办件类型 | 一般件 |
法定办结时限 | 15 个工作日 | 承诺办结时限 | 11 个工作日(不含公示公告期) |
咨询投诉方式 | 电话: 0943-12345 |
|
|
联办效能 |
单办件 办理时间 | 15 个工作日 | 一事联办 办理时间 | 11 个工作日 |
单办件 跑动次数 | 6 次 | 一事联办 跑动次数 | 1次跑动或 0 次跑动(全程网办) |
单办件 递交材料 | 12 份材料 | 一事联办 递交材料 | 2 份材料 |
单办件 办理环节 | 6 个环节 | 一事联办 办理环节 | 1 个环节 |
基本信息 |
事项名称 | 企业注销登记“ 一件事” | 事项类型 | 一般件 | 服务对象 | 经营主体 |
办件类型 | 一般件 | 到场次数 | 1 次或 0 次 | 必须现场办理原因 说明 | 无 |
权力来源 | 法定本级行使 | 承诺办结时 限 | 11 个工作日 | 法定办结时限 | 15 个工作 日 |
适用对象 说明 | 依法应当注销的企业 | 行使层级 | 省、市、县级 | 事项审查类型 | 并联办理 |
涉及的内 容 | 1.企业注销登记; 2.企业注销社会保险登记; 3.税务注销即时办理; 4.海关报关单位注销(省级办理);5.企业印章注销。 | 实施主体性 质 | 法定机关 | 委托部门 | 无 |
联办机构 | 区公安局、区人社局、区税务局、区金融监管局 | 网办深度(等 级) | 全程网办( Ⅳ 级) | 自然人主题分类 | 企业 |
中介服务 事项名称 | 无 |
受理条件 |
1.“企业注销登记”事项的受理条件如下: 依法应当注销的企业。 2.“企业注销社会保险登记”事项的受理条件如下: 用人单位的社会保险登记事项发生变更或者用人单位依法终止的,应当自变更或者终止之日起三十日 内,到社会保险经办机构办理变更或者注销社会保险登记。 3.“税务注销即时办理”事项的受理条件如下: 从事生产、经营的纳税人,税务登记内容发生变化的,自工商行政管理机关办理变更登记之日起三十 日内或者在向工商行政管理机关申请办理注销登记之前,持有关证件向税务机关申报办理变更或者注销 税务登记。 4.“海关报关单位注销”事项的受理条件如下: 报关单位有下列情形之一的,应当向所在地海关办理备案注销手续:1.因解散、被宣告破产或者其他 法定事由终止的;2.被市场监督管理部门注销或者撤销登记、 吊销营业执照的; 3.进出口货物收发货人 对外贸易经营者备案失效的;4.临时备案单位丧失主体资格的;5.其他依法应当注销的情形。(备注,如涉及此事项,省级办理) |
申报材料 |
材料名称 | 来源渠道 | 材料 类型 | 材料 形式 | 纸质材 料份数 | 材料必 要性 | 材料下载 | 纸质材料规 格 | 填报须知 |
《企业注 销登记申请书》 | 系统自动生成( 申请人自备) | 原件 | 纸质、 电子 | 1 | 必要 | 空白表格 | A4 | 无 |
营业执照 正(副) 本原件 | 申请人自备 | 原件 | 纸质 | 1 | 必要 | 无 | 无 | 无 |
法定依据 |
| 法律法规 名称 | 《中华人民共和国市场主体登记管理条例》 |
| 颁发机关 | 国务院 |
| 实施日期 | 2022 年 03 月 01 日 |
| 条款内容 | 第二条:“本条例所称市场主体,是指在中华人民共和国境内以营利为目 的从事经营活动的下列自然人、法人及非法人组织:(一)公司、非公司企业 法人及其分支机构;(二)个人独资企业、合伙企业及其分支机构;(三)农 民专业合作社(联合社)及其分支机构;(四)个体工商户;(五)外国公司 分支机构;(六)法律、行政法规规定的其他市场主体。第三条:市场主体应 当依照本条例办理登记。未经登记,不得以市场主体名义从事经营活动。法律、 行政法规规定无需办理登记的除外。市场主体登记包括设立登记、变更登记和 注销登记。” |
| 法律法规 名称 | 《中华人民共和国税收征收管理法》 |
| 颁发机关 | 全国人民代表大会常务委员会 |
| 实施日期 | 2015年04月24 日 |
| 条款内容 | 第十六条:从事生产、经营的纳税人,税务登记内容发生变化的,自工商行政 管理机关办理变更登记之日起三十日 内或者在向工商行政管理机关申请办理 注销登记之前,持有关证件向税务机关申报办理变更或者注销税务登记。 |
| 法律法规名称 | 《中华人民共和国社会保险法》 |
| 颁发机关 | 全国人大常委会 |
| 实施日期 | 2011年07月01 日 |
| 条款内容 | 第五十七条:用人单位的社会保险登记事项发生变更或者用人单位依法终 止的,应当自变更或者终止之日起三十日内,到社会保险经办机构办理变更或 者注销社会保险登记。 |
| 法律法规 名称 | 《中华人民共和国海关报关单位备案管理规定》 |
| 颁发机关 | 海关总署 |
| 实施日期 | 2022年1月1 日 |
| 条款内容 | 第十条 报关单位有下列情形之一的,应当向所在地海关办理备案注销手 续:1.因解散、被宣告破产或者其他法定事由终止的;2.被市场监督管理部门 注销或者撤销登记、吊销营业执照的;3.进出口货物收发货人对外贸易经营者 备案失效的;4.临时备案单位丧失主体资格的;5.其他依法应当注销的情形。 |
联办事项 |
事项名称 | 办件 类型 | 受理 部门 | 审批结果 类型 | 审批结果 名称 | 是否支持物 流快递 | 审批结 果样本 | 办事指南 |
企业注销社会保险登记 | 即办 件 | 人社 部门 | 其他 | 无 | 否 | 无 |
|
税务注销即时办理 | 即办 件 | 税务 部门 | 其他 | 无 | 否 | 无 |
|
企业印章注销 | 即办 件 | 公安 部门 | 其他 | 无 | 否 | 无 |
|
服务成效 |
减时间 | 通过“一网受理” ,多部门协同办理,减少企业等待时间,事项累积办理时间由将近 15 个 工作日减少至 11 个工作日。 |
减跑动 | 通过协同并联办理、全流程网上办理、 申请人不用不同部门跑,跑动次数大大减少,跑动次 数由 6 次减少至“最多跑 1 次” ,甚至“零跑动”。 |
减材料 | 通过“多表合一,一表申报” ,结合数据共享和电子证照应用,大幅精简需要提交的证明材 料,相同的不重复提交,一般情况下申请人需要提交的证明材料从 12 份减至 2 份。 |
减环节 | 通过整合办事事项,重塑办事流程,申请人办事环节由目前的 6 个业务环节减少至 1 个环节。 |
常见问题 |
|
|
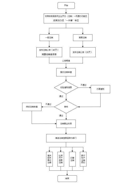
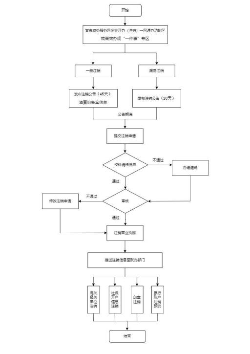
附件 5
企业注销登记“一件事”办事流程图
